Skip to content

I take half-formed ideas and turn them into real products.

I like ideas in their dangerous phase — when they're still alive, still ambiguous, and not yet reduced into something safe.

Making something appear is easy now. Making something real never was.

Daniel Spinosa
Daniel Spinosa

I build because creation itself is a way of finding out what's true.

Building and shipping reveal truths that abstraction alone won't.

What I do

Anyone can start something. Vibes are everywhere. I care about building things that last.

I help founders and companies find the product inside the idea, then make it real without flattening what made it interesting.

The goal is coherence. Something that actually works, holds together, and survives contact with reality.

Why this works

I'm not operating at just one layer.

I can go deep on the system — from data structures to scaling constraints.

I can hold the product — what it should be, and what it shouldn't.

And I can push it into reality.

Most work breaks because these layers get separated. I keep them together.

Background

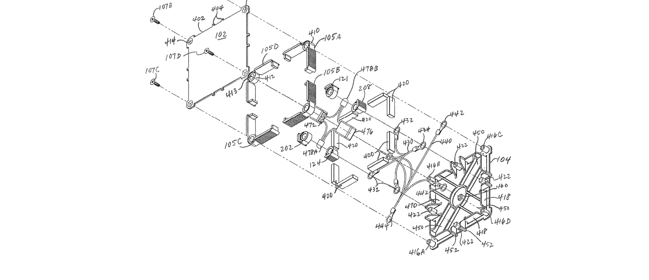
B.S. Computer Engineering, Brown University, where I also lettered in lacrosse for four years. TechStars NYC inaugural class. Multiple founder across bootstrapped and venture-backed companies. Holder of a patent for Electrotiles.

Electrotiles patent — exploded CAD view of powered magnetic blocks

AI

The hard part is not making something appear. It's making something endure.

AI is compressing both depth and breadth. It can generate code, plans, and ideas.

But it doesn't decide what matters. It doesn't carry a thing forward. It doesn't own the outcome.

That's where I operate. I care about what survives contact with reality.

Read this page as markdown →

A "warning"

I go a little rogue in productive ways.

I tend to see what's needed and build it, even if it wasn't explicitly asked for.

At Bond, I added sound cues to a check-in kiosk nobody asked me to touch. It became the most-loved feature in the building.

This works best when there's room for initiative, not just instruction.

Jams

Jammin on code

diff

A daily word transformation game. Remove, add, and rearrange letters to turn one word into another.

Jammin on words

Token-Maxing Is Just the Mythical Man-Month Again

Everyone's racing to use more tokens. More agents. More orchestration. More AI talking to AI, coordinating, delegating, handing work down the chain. It feels like scale. It feels like power. I ke...

The Dark Factory Needs a Light Switch

I've been running a dark factory for a while now. If you haven't heard the term: a dark factory is a factory where humans aren't needed on the floor. You turn the lights off and let the machines r...

The Bugs Are the Features

The wrong question is: what can AI do? The right question is: what does AI doing things reveal about what humans are? That reframe is everything. AI doesn't saunterWe built AI to predict the nex...

All jams →

Contact

If you have something important that is still forming, I'm already interested.

spinosa@gmail.com